

Parametre sıfırlama
Sürücü enerjisi kesilir, ekran kapandıktan sonra QuickMenu ve ChangeData tuşlarına basılı tutularak sürücüye enerji verilir, Ekranda First yazısı görüldüğünde işlem tamamlanmıştır.
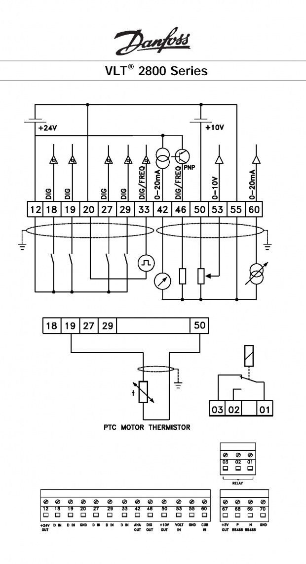
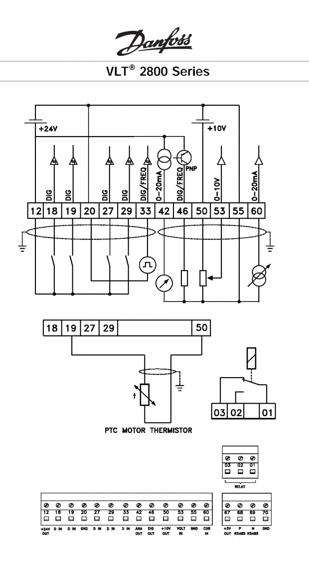
Gelişmiş Menü
Tüm parametreleri görebilmek için Quick Menu ve + tuşlarına aynı anda basın.
Hızlı menüde sadece şu parametrelere erişilebilir.
102 Motor power - Motor gücü
103 Motor voltage - Motor voltajı
104 Motor frequency - Motor frekansı
105 Motor current - Motor akımı
106 Rated motor speed - Motor hızı
107 Automatic motor adaption. - Otomatik motor tanıma
205 Maximum reference - Maks. Ref.
207 Ramp-up time - Hızlanma süresi
208 Ramp-down time - Duruş süresi
002 Local/remote operation - Lokal / Uzak kontrol
003 Local reference - Lokal Ref.